当前位置:首页 > 乳业百科

奶牛养殖场犊牛舍、青年牛舍、成年牛舍的规划建设

作者:挤奶机来源:http://jnj.xdqj.com/时间:2019-08-21
犊牛舍:犊牛舍或犊牛栏饲养出生后7日龄到断奶的犊牛,要求牛舍清洁干燥、通风良好、光线充足,能防止贼风和潮湿。目前常用的犊牛栏主要有单栏(笼)、群栏和室外犊牛栏等几种。
单栏(笼)一般长130厘米、宽80~110厘米、高110~120厘米。犊牛出生后即在单栏(笼)中饲养,每犊一栏,隔离管理,一般1月龄后才过渡到通栏。
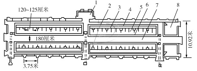
通栏饲养的犊牛应按大小进行分群。采用自由散放的牛床式通栏饲养,群栏的面积根据犊牛的头数而定,一般每栏饲养5~15头,每头犊牛占地面积1.8~2.5平方米,栏高120厘米。通栏的一侧或两侧,设置饲槽并装有栏栅颈枷,以便于喂奶或必要时对牛只进行固定。舍内通栏既可布置为单排栏,也可为双排栏,每栏设自动饮水器,以便让犊牛随时能喝到清洁的饮水。在气候温和的地区或季节,犊牛出生后3天即可饲养在室外犊牛栏。室外犊牛栏的前边设一运动场,运动场由直径为1.0~3.0厘米的钢筋围成栅栏状,围栏长300厘米、宽120厘米、高90厘米。围栏前设喂奶槽和饮水桶,以便犊牛在小范围内活动,采食饮水。室外犊牛栏设备简单,投资少,犊牛成活率高,但劳动生产率较低。
奶牛养殖场牛舍建设
青年牛舍:青年牛舍是饲养从配种到分娩前母牛的牛舍。大多采用舍饲拴系,单坡单列敞开式饲养,舍内设单排通栏,牛只固定,便于管理。这种牛舍每头牛占用面积6~7平方米,跨度3~5米。牛床一般长1.4~1.6米,宽0.8~1.0米,坡度1%~1.5%。
成年牛舍:成年牛舍奶牛一般采用拴系舍饲,饲喂、挤奶等都在牛舍里进行。现在一些大型的奶牛企业也采用散栏牛舍,牛没有固定的床位,挤奶在挤奶厅集中进行。
拴系饲养的牛舍根据饲养量一般分为单列式和双列式。单列式牛舍一般在牛舍内部沿着房屋的纵轴布置一排牛床位,这种排列的特点是牛舍跨度小(一般为5.5~6米),通风良好,散热面积大,适宜养奶牛头数较少的牛场。双列式牛舍沿着牛舍内部纵向布置两排牛床,牛舍跨度大(一般为11~12米),比单列式牛舍节约建筑面积的10%左右。双列式牛舍一般采用对尾式饲养,两边各有一条喂料走道。
  • 质量保证

    采用100%优质原料
  • 快速发货

    发货速度快免费安装指导
  • 维修服务

    发货起12个月内免费维修
  • 售后服务

    全年无休接受服务请求

如果您需要产品报价或其他服务,可立即拨打电话或者点击下方的在线咨询和我们联系!

免费咨询热线: 0373-5099016
咨询优惠报价

新乡市watchwhes轻工机械有限公司版权所有 Copyright(c)2017 All Rights Reserved 豫ICP备09019551号

网站地图 挤奶机案例挤奶机设备
Baidu
map